

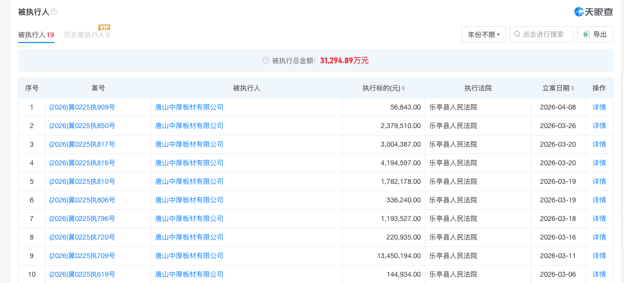
证券之星消息,根据天眼查-司法案件数据整理,4月7日河钢股份(000709)控股的唐山中厚板材有限公司新增1条被执行人信息,执行标的5.68万元。被执行人信息如下:
案号:(2026)冀0225执909号
被执行人:唐山中厚板材有限公司
身份证号/组织机构代码:76661455-9
执行法院:乐亭县人民法院
执行标的(元):56843.0
唐山中厚板材有限公司成立于2004年9月17日,法定代表人为张弛,注册资本100640.29万人民币(约10亿元)。天眼查APP股权穿透显示,该公司由河钢股份控股,持股占比51%。
此外,天眼查介绍,唐山中厚板材有限公司主要从事中厚板材的生产与加工。公司核心业务涵盖钢、铁冶炼及钢压延加工,产品广泛应用于建筑结构、装备制造和能源设施等领域。
值得注意的是,该公司目前被执行人信息有19条,被执行总金额31294.89万元(约3.1亿元)。

图片来源:天眼查
来源:天眼查APP、证券之星
联系方式:hbpd@eastdaymail.com.cn
老虎配资提示:文章来自网络,不代表本站观点。